twicer ®   13-Feb-2026 12:13

Судовые дизельные двигатели


Год выпуска: 2026
Язык: Русский
Автор: Осипов О. В., Воробьев Б. Н.
Жанр: Учебное пособие
Издательство: «Издательство Лань»
Издание: 6-е
ISBN: 9785507549122
Формат: PDF
Качество: Изначально компьютерное (eBook)
Количество страниц: 354
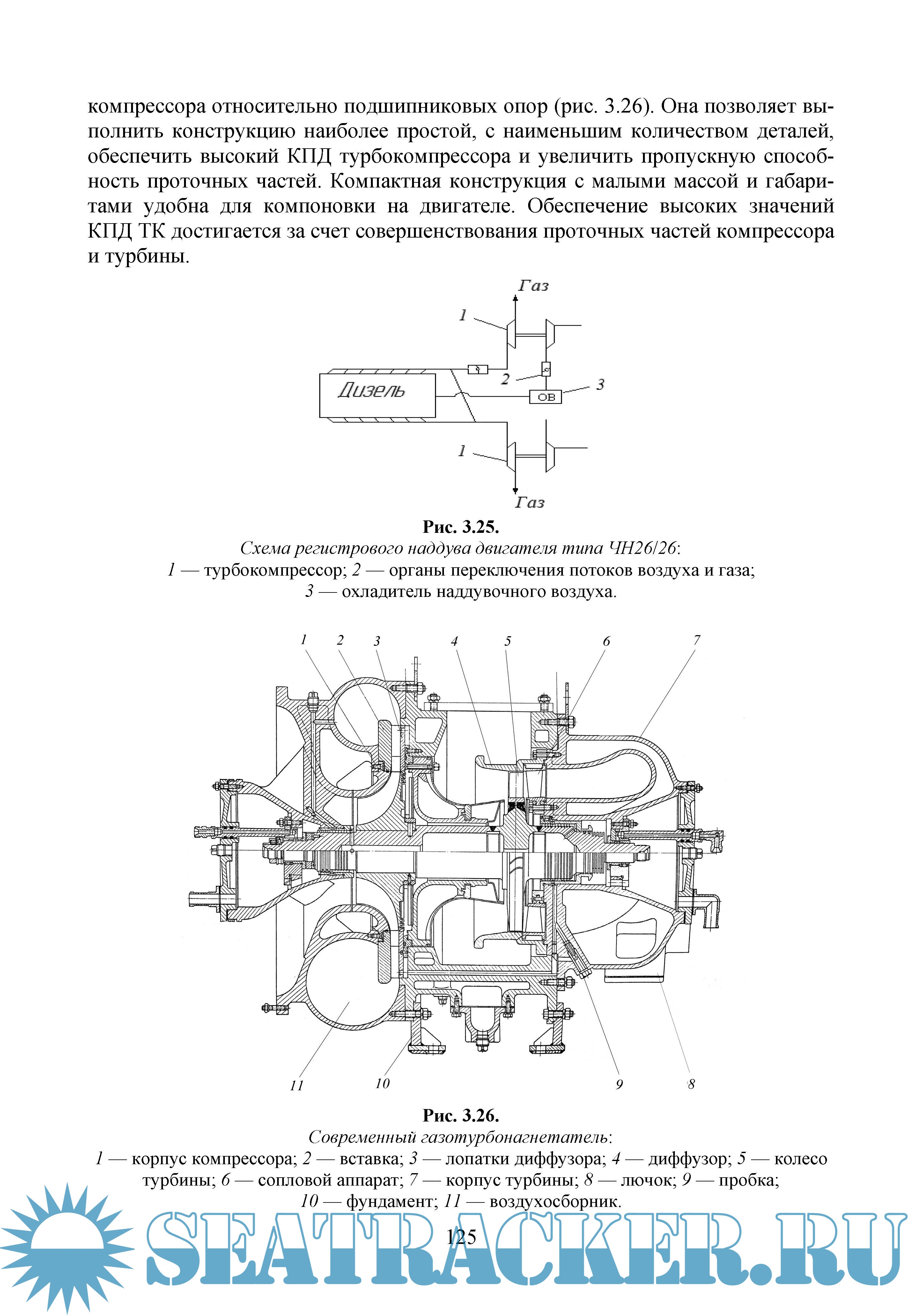
Описание: Рассмотрены типы и конструктивные особенности основных моделей современных судовых двигателей, выпускаемых зарубежными дизелестроительными фирмами. Представлен обширный графический материал по элементам конструкций и деталям цилиндропоршневой группы, а также топливной аппаратуры рассматриваемого класса судовых дизелей. Графический материал по конструкциям отдельных деталей двигателей значительно расширяет описательную часть. Особое внимание уделено конструктивным решениям задач по обеспечению высокой эффективности систем наддува и топливоподачи в современных дизелях последнего поколения. Представлен также материал, касающийся технической эксплуатации судовых двигателей и требований, предъявляемых к ним. Рассмотрены эксплуатационные режимы, в частности работа судового двигателя на винт.
Учебное пособие предназначено для студентов высших учебных заведений, обучающихся по направлению подготовки «Эксплуатация судовых энергетических установок», кроме того, будет полезно судовым механикам и инженерно-техническим работникам береговых обслуживающих и ремонтных организаций в практической работе.

Содержание

Скриншоты

Hidden

Download [28 KB]

Thank U
Reply
refresh list

Similar releases

Судовые дизельные двигатели - О. В. Осипов, Б. Н. Воробьев [2022, PDF]
Основы теории и эксплуатации судовых электроприводов - Бурков А.Ф. [2021, PDF]
Двигатели внутреннего сгорания морских судов - Самсонов В.И., Худов Н.И. [1990, PDF]
Судовые двигатели внутреннего сгорания - Фомин Ю.Я. и др. [1989, PDF]
Топливные системы современных судовых дизелей - Белоусов Е.В. [2016, PDF]
Теория и устройство промысловых судов - Кулагин В.Д. [1986, DjVu]
Идентификация повреждений элементов судовых котельных установок - Денисенко Н.И., Костылев И.И.…
Судовые навигационно-информационные системы - Вагущенко Л.Л., Вагущенко А.А. [2016, PDF]
Технологии Использования Рабочих Веществ В Судовых Энергетических Установок - О.Н. Занько, В.Н.…
Судовые дизельные энергетические установки - Румб В.К., Яковлев Г.В. и др. [2007, PDF]
LOAD MORE
  • Reply

The time now is: Today 20:56

All times are GMT + 3 Hours