twicer ®   01-Jan-2026 23:50

Холодильные установки транспортных рефрижераторных судов


Год выпуска: 2025
Язык: Русский
Автор: Никишин М. Ю., Гродник Д. В.
Жанр: Учебное пособие для вузов
Издательство: «Издательство Лань»
Издание: 1-е
ISBN: 9785507514700
Формат: PDF
Качество: Изначально компьютерное (eBook)
Количество страниц: 126
Описание: В настоящее время более 80% всего объёма мировой товарной торговли осуществляется по морю, в том числе и транспортировка с применением рефрижераторных судов.
Холодильные установки современных транспортных рефрижераторных судов имеют высокий уровень автоматизации, что позволяет судовладельцам сокращать количество членов экипажа в целом и, в частности, не трудоустраивать на такие суда рефрижераторных механиков. В таких случаях обязанности по технической эксплуатации судовых холодильных установок возлагаются на старшего механика или другого специалиста судомеханической службы (зависит от судовладельца).
У многих судовых механиков самостоятельная эксплуатация холодильных установок вызывает большие трудности из-за отсутствия достаточной теоретической и практической подготовки.
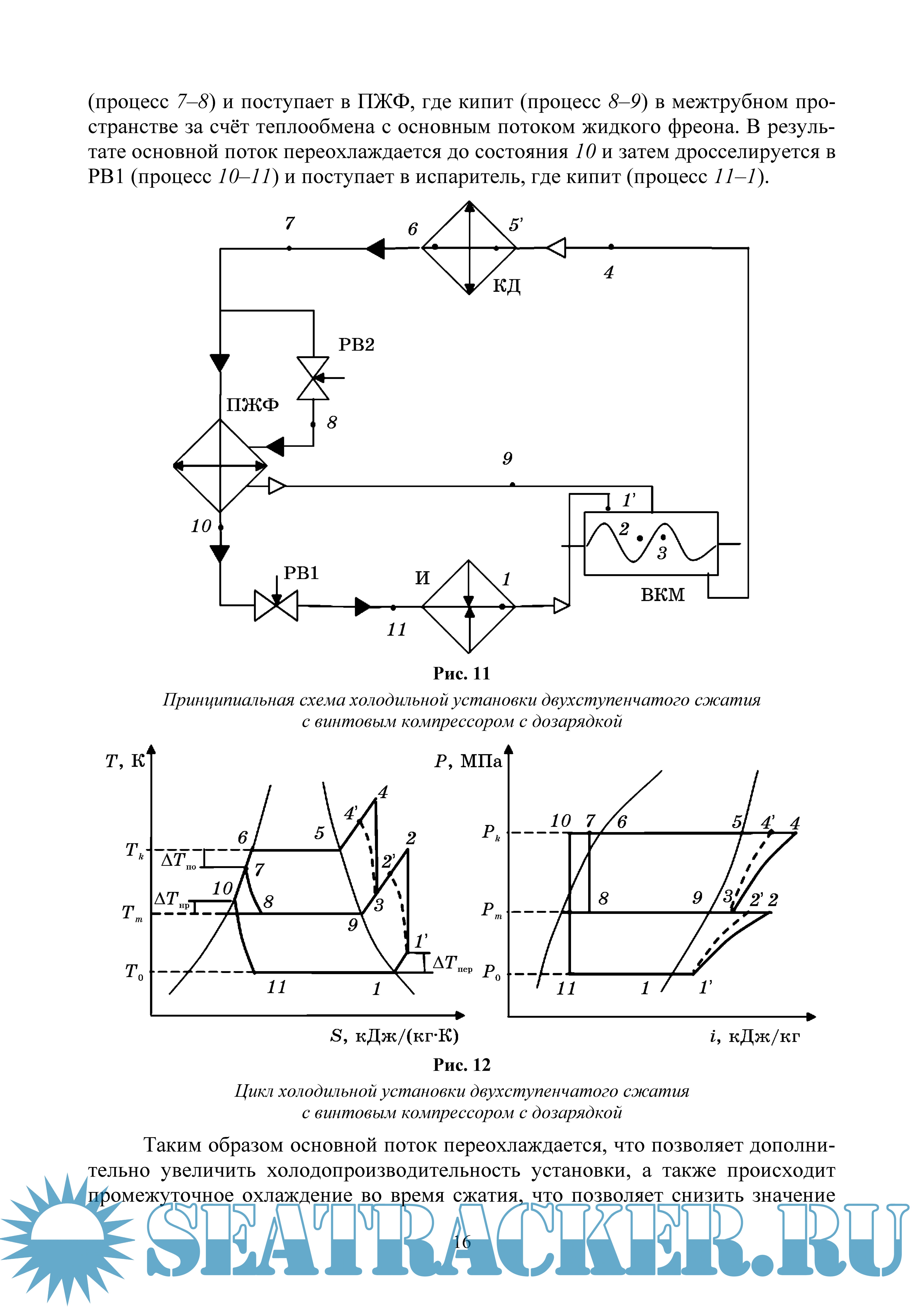
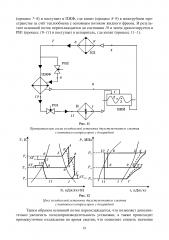
В данном пособии рассматриваются теоретические основы работы производственных холодильных установок транспортных рефрижераторных судов, способы охлаждения грузовых трюмов, конструкция и принцип действия основного и вспомогательного холодильного оборудования, а также системы их автоматизации и основы технической эксплуатации. Вопросы технического обслуживания и возникающих неисправностей в работе конкретного холодильного оборудования рассматриваются в соответствующих разделах учебного пособия. Также приводится основная терминология по судовым холодильным установкам на русском и английском языках.

Содержание

Скриншоты

Hidden

Download [9 KB]

Thank U
Reply
refresh list

Similar releases

Судовые холодильные установки и системы кондиционирования - Лалаев Г.Г. [1981, PDF, RUS]
Судовые холодильные установки - Колиев И. Д. [2009, PDF]
Судовые холодильные установки - Швецов Г.М., Ладин Н.В. [1986, PDF]
Судовые рефрижераторные установки - Ладин Н.В. [1993, PDF]
Судовые холодильные установки и системы кондиционирования воздуха - Конюков В.Л., Клименко Н.П.,…
Судовые вспомогательные механизмы и холодильные установки. - Аристов Ю.К. [1976, PDF]
Судовые Холодильные Установки Курсовое И Дипломное Проектирование - И.Д. Колиев, Н.Г. Ермошкин.…
Судовые пароэнергетические установки и газовые турбины - Верете А.Г. и др. [1982, PDF]
Монтаж судовых холодильных установок. - Ионов А. Г. [1980, PDF]
Основы технической эксплуатации флота и судоремонт - Зяблов О.К. [2013, PDF]
LOAD MORE
  • Reply

The time now is: Today 01:20

All times are GMT + 3 Hours