Hichamzr ®   11-Oct-2024 12:37

The International Maritime Organisation - Volume 1 (Routledge Revivals) - Edited by Samir Mankabady - (2024)


Year: 2024
Language: English
Author: Edited by Samir Mankabady
Publisher: Routledge
ISBN: 9781032759302
Format: PDF
Quality: Scanned pages
Pages count: 399
Description: Originally published in 1984, this book provides a survey of the shipping rules adopted under the auspices of the International Maritime Organisation (IMO) during the latter part of the 20th Century. Its scope is wide-ranging, and, since the measures adopted by the IMO cover a great variety of disciplines, the papers in this book are written with clarity and authority by a number of experts

Contents

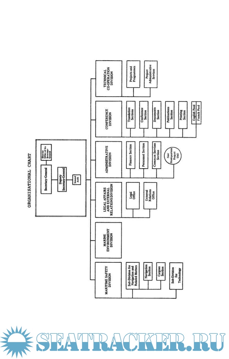
1. IMO Structure, Relationship with other Organisations and Future Development 2. The Conventions of Ship Construction, Design and Equipment 3. The Tonnage Measurement of Ships Convention, 1969 4. IMO: Codes for Chemical and Gas Carriers 5. The International Maritime Dangerous Goods (IMDG) Code 6. The Carriage of Radioactive Materials 7. The International Convention for Safe Containers (CSC) 8. The Law on Safe Navigation at Sea: Part 1 General Rules 9. The Law on Safe Navigation at Sea: Part 2 – The Collision Rules 10. Safety and Communications in Shipping 11. The Standards of Training, Certification and Watchkeeping for Seafarers (STCW) Convention, 1978 12. Technical Assistance 13. The Convention on Facilitation of International Maritime Traffic 14. The Convention on Limitation of Liability for Maritime Claims, 1976 15. The Carriage of Passengers and the Athens Convention in the United Kingdom 16. Intervention at Sea 17. Liability for Oil Pollution from Ships 18. The International Oil Pollution Compensation Fund 19. Marpol 73/78 20. The Carriage of Hazardous and Noxious Substances

Screenshots

Hidden

FILE WAS DELETED BY COPYRIGHT HOLDERS

You can buy it on https://www.imo.org

Reply
refresh list

Similar releases

The International Maritime Organisation - Volume 2 - Accidents at Sea (Routledge Revivals) -Samir…
Limitation of Liability in International Maritime Conventions - Norman A Martinez Guiterrez [2011,…
IOPC FUND - Liability and compensation for oil pollution damage - Ed 2018 - IOPC FUND [2018, PDF]
IOPC FUND - Claims Manual - IOPC FUND [2019, PDF]
International Code for the Construction and Equipment of Ships Carrying Dangerous Chemicals in Bulk…
Shipping and the Environment | Law and Practice - Charles Anderson and Others [2023, PDF]
SOLAS CONSOLIDATED EDITION 2020 - IMO [2020, PDF]
Liability for Damage to the Marine Environment - Colin de la Rue [1993, PDF]
Legal Handbook Shipmaster | The standard practical Legal Guide for the Shipmaster - Peter van der…
SOLAS Consolidated Edition 2020 - IMO [2020, PDF]
LOAD MORE
  • Topic closed

The time now is: Today 20:25

All times are GMT + 3 Hours