virtual ®   15-May-2019 06:59

Furuno Operator’s Manual Navtex Receiver NX-700A/B


Year: 2006
Language: english
Author: Furuno
Genre: Manual
Format: PDF
Quality: eBook
Pages count: 89
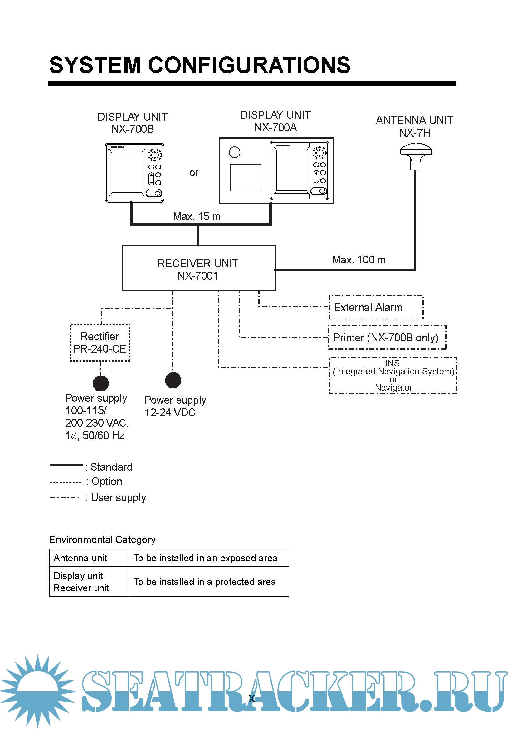
Description: NAVTEX (Navigational Telex) is a world wide coastal telex broadcasting system.
Coastal NAVTEX broadcasting stations with specific ID’s transmit Navigational
warnings. Meteorological warnings, Search and Rescue (SAR) information and
other navigational information for NAVTEX receiver-equipped vessels sailing in
coastal waters. The FURUNO NX-700 NAVTEX receiver receives NAVTEX messages and
automatically displays them together with station ID and message category
information.

Contents

Screenshots

NX-700_OM_ENG_56490D.pdf

Download [3 KB]

Thank U
Reply
refresh list

Similar releases

Furuno NAVTEX Receiver NX-700A/B Operators Manual - Furuno [2015, PDF]
JRC NAVTEX Receiver Instruction Manual NCR-333 - JRC [2013, PDF]
NAVTEX Manual (2023 Edition) - IMO [2023, PDF]
Furuno AIS Receiver Operators Manual FA-30 [2012, PDF]
NAVTEX Manual - IMO [2018, PDF]
Navtex Manual [2005, DJVU]
NAVTEX Manual - IMO [2012, PDF]
Furuno AIS Receiver Operators Manual FA-50 - [2016, PDF]
Thrane & Thrane - Sailor-6390 Navtex Receiver Installation and User manuals - Thrane & Thrane A/S…
Furuno Felcom 11 Inmarsat-C Operators Manual - Furuno [1997, PDF]
LOAD MORE
  • Reply

The time now is: Today 21:52

All times are GMT + 3 Hours