NNT ®   15-Nov-2017 09:58

Vessel construction and maintenance (Learner's Guide)


Year: 2003
Language: english
Author: WestOne Services
Genre: Manual / Maritime Studies
Publisher: WestOne Services
Edition: 1st
ISBN: 0730792048
Format: PDF
Quality: eBook
Pages count: 265
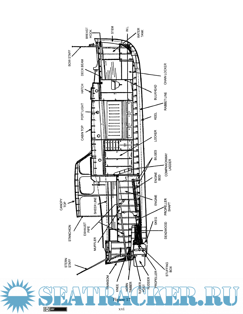
Description: This learner's guide is compiled in 14 sections to cover the construction and maintenance content up to Master 4 level.

Screenshots

MAR049_CCBY

Download [4 KB]

Thank U
Reply
refresh list

Similar releases

Cargo operations - Part 2 (Resource Book) WestOne Services [2003, PDF]
Cargo operations - Part 1 (Learners' Guide) - WestOne Services [2003, PDF]
Stability A - Learner's Guide - WestOne Services [2003, PDF]
Marine Meteorology - Supplementary Notes - WestOne Services [2003, PDF]
Elements of Shipboard Safety - Learner's Guide - WestOne Services [2009, PDF]
Handling Powered Vessels - L.C. Lawrance [2003, PDF]
Small Vessels Stability Bundle - various authors [20XX, PDF]
Marine Meteorology (Supplementary Notes) - Larry Lawrence and Kenn Batt [2016, PDF]
VTS Manual, Edition 6 - IALA [2016, PDF]
UDEMY - Be an expert in English Grammar - Ustazy [2021, Docx+MP3+MP4]
LOAD MORE
  • Reply

The time now is: Today 20:56

All times are GMT + 3 Hours