tobias69 ®   18-Feb-2017 17:28

Судовые вспомогательные механизмы


Год выпуска: 1974
Язык: русский
Автор: Завиша В.В., Декин Б.Г.
Жанр: Учебное пособие
Издательство: ТРАНСПОРТ
Формат: PDF
Качество: Отсканированные страницы
Количество страниц: 389
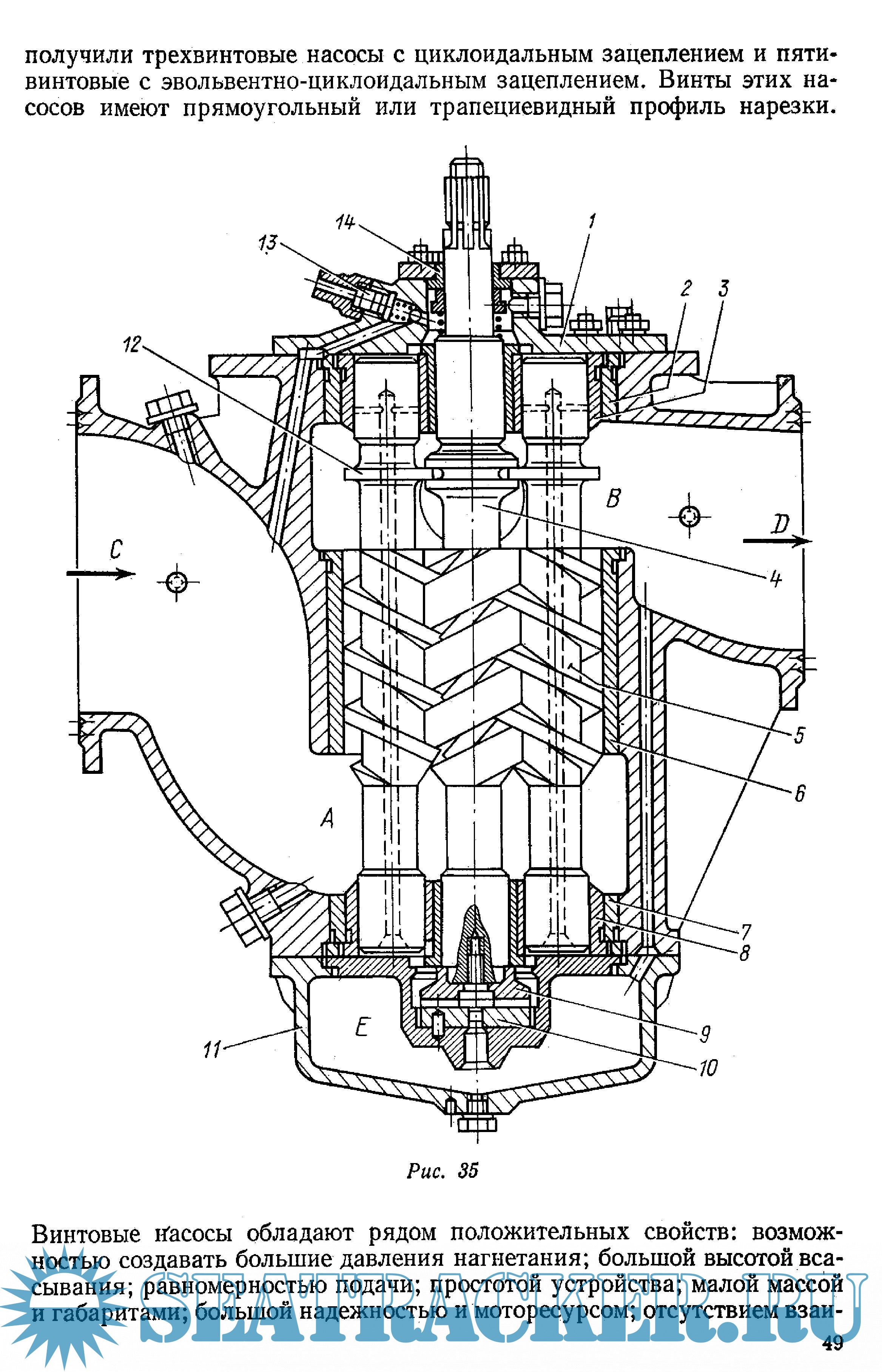
Описание: В учебнике содержатся сведения по теории и эксплуатации су¬довых вспомогательных механизмов и систем, рассматриваются их принципиальные схемы и новые типовые конструкции.
По сравнению с другими учебниками по вспомогательным меха¬низмам в этом усилена теоретическая часть, посвященная эксплуа¬тационным задачам и оценке эффективности и экономичности ме¬ханизмов, шире рассмотрены вопросы эксплуатации, сокращены некоторые разделы, относящиеся к курсу «Гидравлика», и описание конструкций.
Книга предназначена в качестве учебника для учащихся фа¬культетов судомеханических и автоматизации теплоэнергетических процессов высших инженерных морских училищ и может быть использована в качестве учебного пособия курсантами других факультетов и студентами морских вузов.
Некоторые разделы полезны слушателям курсов повышения квалификации, работникам проектных организаций и береговых служб, инженерному персоналу морских транспортных судов.

Скриншоты

Завиша Судовые вспомогательные механизмы и системы.pdf

Download [6 KB]

Thank U
Reply
refresh list

Similar releases

Судовые вспомогательные механизмы и системы - Харин В.М. и др. [1992, PDF]
Судовые вспомогательные и промысловые механизмы, системы и их эксплуатация - Черепанов Б.Е. [1986,…
Судовые вспомогательные механизмы и системы - Колесников О.Г. [1977, PDF]
Автоматизированные системы управления судовыми дизельными и газотурбинными установками -…
Судовые паровые котлы. Устройство и эксплуатация - Лысенко В.К. [1975, PDF]
Автоматическое управление судовыми электроэнергетическими установками - Баранов А.П. [1981, PDF]
Судовые холодильные установки - Мартыновский В.С. [1964, DjVu]
Судовые вспомогательные и рыбопромысловые механизмы - Богомольный А.Е. [1980, PDF]
Эксплуатация насосов судовых систем и гидроприводов - Чиняев И.А. [1975, PDF]
Расчеты судовых систем кондиционирования воздуха - Селиверстов В.М. [1971, DjVu]
LOAD MORE
  • Reply

The time now is: Today 20:27

All times are GMT + 3 Hours