vitbar192 ®   08-Dec-2020 10:25

Атомные суда


Год выпуска: 1961
Язык: русский
Автор: Быховский И.А.
Жанр: Техническая литература
Издательство: Судпромгиз
Формат: PDF
Качество: Отсканированные страницы
Количество страниц: 315
Описание: В книге обобщены, систематизированы и изложены в доступной форме публиковавшиеся в отечественной и зарубежной печати сведения о надводных судах с атомными энергетическими установками.
Приведены основные понятия ядерной физики и техники ядерных реакторных установок, описаны типы ядерных энергетических установок, особенности конструкций судов с атомными энергетическими установками.
В книге подробно рассказывается о транспортных и боевых атомных судах, об атомных подводных лодках, о перспективах развития атомного флота. Приведены некоторые сведения о первом в мире атомном судне мирного назначения — советском атомном ледоколе Ленин
Книга рассчитана на широкие круги читателей.

Содержание

От автора
Часть первая. Физические основы работы судовых ядерных энергзгических установок и их основные типы
Глава 1. Физические основы работы ядерных энергетических реакторов
Глава 2. Состав и назначение основного оборудования судовой ядерной энергетической установки
Глава 3. Некоторые особенности судовых ядерных энергетических установок
Глава 4. Классификация судовых ядерных энергетических установок
1. Установки с реакторами на водяном теплоносителе
A. Установки с водо-водяными реакторами
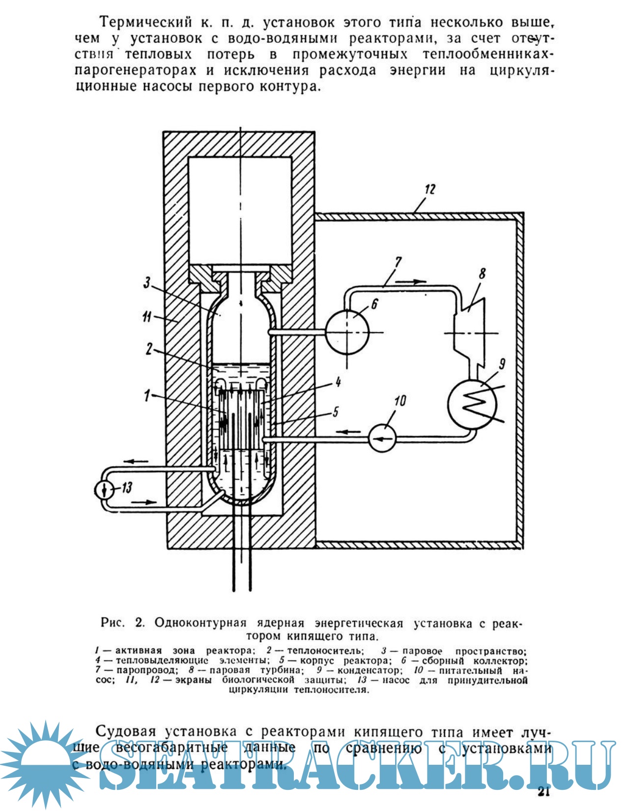
Б. Одноконтурная установка с реактором кипящего типа
B. Двухконтурная установка с реактором кипящего типа
2. Установки с реакторами на органическом теплоносителе
3. Установки с реакторами на жидкометаллических теплоносителях
4. Установки с газоохлаждаемыми реакторами
А. Одноконтурная установка с газотурбинными агрегатами
Б. Двухконтурные установки с газотурбинными и паротурбинными агрегатами
Часть вторая. Атомные надводные корабли и суда
Глава 1. Боевые надводные атомные корабли и их особенности
1. Атомный ударный авианосец США «Энтерпрайз»
2. Атомный крейсер-ракетоносец США «Лонг Бич»
3. Атомный легкий ракетоносец (фрегат) США «Уилльям Бейн-бридж» ™
4. Атомный эскортный корабль (эскадренный миноносец) США . 42 Глава 2. Атомные суда транспортного флота и специального назначения, их особенности
1. Некоторые соображения об экономической целесообразности строительства атомных транспортных судов
2. Некоторые конструктивные особенности надводных атомных судов
3. Обзор состояния строительства и проектирования атомных транспортных и специальных судов
A. Советский атомный ледокол «Ленин»
Б. Американское атомное грузо-пассажирское судно «Саванна»
B. Проекты надводных атомных транспортных судов и судов специального назначения
Г. Проекты атомных грузо-пассажирских и пассажирских лайнеров
Д. Проекты атомных судов специального назначения
Часть третья. Атомные подводные лодки и суда
Глава 1. Боевые атомные подводные лодки и их особенности
1. Обзор состояния строительства и проектирования атомных подводных лодок в основных капиталистических странах
А. Подводные лодки США
Б. Атомные подводные лодки Англии, Франции и других капиталистических стран
В. Некоторые конструктивные особенности боевых атомных под водных лодок
Г. Вопросы обитаемости атомных подводных лодок
Глава 2. Атомные подводные транспортные суда
A. Американские проекты атомных подводных судов
Б. Английские проекты атомных подводных судов
B. Японские проекты атомных подводных судов
Г. Проекты атомных подводных танкеров других капиталистических стран
Д. Краткие выводы о состоянии работ по атомным подводным транспортным судам
Часть четвертая. Судовые ядерные энергетические установки
Глава 1. Энергетические установки с реакторами на водяном теплоносителе
Созданные энергетические установки
1. Энергетическая установка американской опытной подводной лодки «Наутилус»
2. Энергетические установки американских серийных атомных подводных лодок
3. Энергетическая установка американской атомной подводной лодки «Тритон»
4. Энергетическая установка американской атомной подводной лодки «Таллиби»
5. Энергетические установки американских атомных надводных боевых кораблей
6. Энергетическая установка американского атомного грузо-пассажирского судна «Саванна»
Проекты энергетических установок атомных судов, опубликованные в печати
1. Проект энергетической установки японского атомного быстроходного грузо пассажирского судна водоизмещением 26 400 т
2. Проект энергетической установки японского атомного супертанкера дедвейтом 65 000 т
3. Проект энергетической установки японского атомного подводного танкера дедвейтом 30 000 т
4. Проект энергетической установки западногерманского атомного танкера дедвейтом 22 000 т (типа «Олимпик»)
5. Проект энергетической установки английского атомного танкера дедвейтом около 40 000 т 223
6. Проект энергетической установки американского атомного китобойного судна-матки водоизмещением 17 000 т
7. Проект энергетической установки французского атомного танкера дедвейтом 40 000 т
8. Проект энергетической установки с реактором кипящего типа американского атомного танкера дедвейтом 22 650 т
9. Проект энергетической установки с реактором кипящего типа шведского атомного супертанкера дедвейтом 65 000 т
10. Проект энергетической установки с реактором кипящего типа для английского танкера дедвейтом 40 000 т
11. Проект энергетической установки с реактором кипящего, типа для английского супертанкера
12. Проект энергетической установки с реактором кипящего типа для западногерманского танкера дедвейтом 38 000 т
Глава 2. Энергетическая установка с реактором на жидкометаллическом теплоносителе американской опытной подводной лодки «Си вулф»
Глава 3. Энергетические установки с реакторами на органических теплоносителях
1. Проект энергетической установки американского атомного танкера дедвейтом 38000 т
2. Проект энергетической установки американского танкера дедвейтом 60000 т
3. Проект энергетической установки английского атомного танкера дедвейтом 25000 т
4. Проект энергетической установки английского атомного танкера дедвейтом 30000 т
5. Проект энергетической установки английского атомного рефрижераторного судна дедвейтом 14 000 т
6. Проект энергетической установки английского атомного сухогрузного судна дедвейтом 13 300 т
7. Проект энергетической установки западногерманского атомного танкера дедвейтом 16 000 т
Глава 4. Проекты энергетических установок с газоохлаждаемыми реакторами
1. Проект энергетической газотурбинной установки американского атомного танкера дедвейтом 38 000 т
2. Проект энергетической газотурбинной установки западногерманского атомного танкера типа «Олимпик» дедвейтом 22 000 т
3. Проект энергетической газотурбинной установки американского атомного пассажирского судна на подводных крыльях
4. Проекты энергетических двухконтурных установок с газоохлаждаемыми реакторами и паротурбинными агрегатами
Краткое заключение
Литература

Содержание

Скриншоты

Быховский И.А. Атомные суда, 1961.pdf

Download [15 KB]

Thank U
Reply
refresh list

Similar releases

Подводные лодки империалистических государств - Герасимов В.Н., Дробленков В.Ф. [1962, PDF]
Судовые атомные паропроизводительные установки (Основы проектирования) - Африкантов И.И., Митенков…
Энергетика Атомных Судов - Дядик А.Н. [2014, PDF]
Подводные лодки специального назначения - Гусев А.Н. [2013, PDF]
Подводные лодки России. Иллюстрированный справочник - Ильин В., Колесников А. [2002, PDF]
Основы теории и эксплуатации судовых ядерных реакторов - Саркисов А. А. и др. [2008, PDF]
Теория и устройство судов внутреннего плавания - Лесюков В.А. [1961, PDF]
Основы теории и эксплуатации судовых ядерных реакторов - Саркисов А.А., Гусев Л.Б., Калинин Р.И.…
Судовые энергетические установки. Часть 3. Комбинированные и ядерные установки - Болдырев О.Н.…
Подводные лодки. Прошлое, настоящее, будущее - Вакс А.И., Мурадян В.А., Сагайдаков Ф.Р. [2001, PDF,…
LOAD MORE
  • Reply

The time now is: Today 19:58

All times are GMT + 3 Hours