tushky7 ®   10-Oct-2018 10:17

Merchant Ship Stability


Year: 1985
Language: english
Author: A.R. Lester
Publisher: Butterworth & Co
ISBN: 9781483102443
Format: PDF
Quality: eBook
Pages count: 326
Description: Merchant Ship Stability presents the theory and application of methods for maintaining ship stability. It serves as a textbook for deck officers and first year degree students.
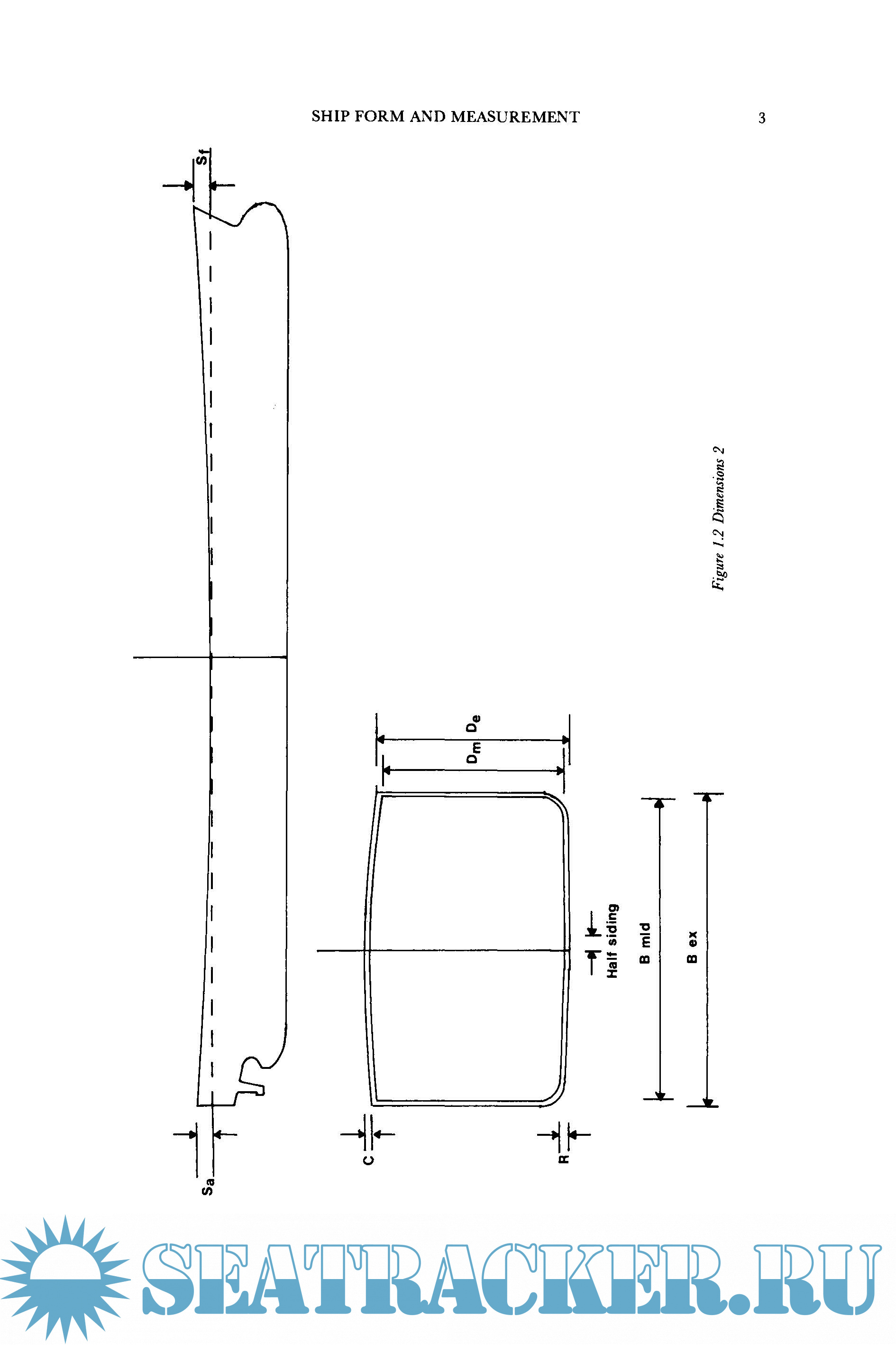
The book discusses the methods of Simpson's rules for measuring ship form, the principle of floatation, finding the position of the center of gravity, and the effect of the center of gravity of the vessel not being on the centerline, the effect of having liquids within the vessel which are free to move and the effect of suspending weights. Topics on the assessment of stability of large angles of heel, regulations about merchant vessel stability, and dry docking and grounding are provided as well.
Deck officers and merchant marine students will find the book very useful.

Contents

Screenshots

Merchant Ship Stability.pdf

Download [5 KB]

Thank U
Reply
Arcan   19-Jan-2019 10:25
Gentlmen, here should be posts regarding book released. Your posts are just a flooding in the topic and therefore both got negative reputation.
If you would like to ask re any books - you have to post in the proper forum
0
Reply
refresh list

Similar releases

Ship Stability for Mates/Masters - Martin A. Rhodes [2013, PDF]
Naval Architecture for Marine Engineers: Volume 4 (Reed's marine engineering series) - EA…
Hydrostatics and Stability - Dr. Hari V. Warrior [2012, MP4]
Naval Architecture I - Solved Numericals (2022-2012) from Past Question Papers of Mercantile Marine…
Ship Fire Prevention - A. J. S. Bennett [1964, PDF]
Applied Naval Architecture - Robert B. Zubaly [1996, PDF]
Ship Squat & Interaction - Dr. C.B. Barrass [2009, PDF]
Ship Stability: Notes and Examples - Bryan Barrass [2001, PDF]
Course Of Ship's Stability And Trim - Faculty of Navigation [2010, PDF]
Gas Measuring instrument handout - Wal [2019, PDF]
LOAD MORE
  • Reply

The time now is: Today 23:00

All times are GMT + 3 Hours